All over our community, people are working to live in better harmony with wildlife. A great example is the bat habitat designed for the new Ina Road Bridge. You may have seen Desert Museum docents teaching about bats as they emerge from their summer roosts under other bridges, such as the one at Campbell and River. When bridges get old and need to be replaced, what happens to the bats? Janine Spencer, Environmental Projects Manager for the Town of Marana answers this question in this guest Desert Diary.

History of Bats in Bridges
According to Bat Conservation International, over 50% of bat species are in severe decline or already listed as endangered. Older bridge designs provided crevices for bats to roost; however, as these bridges are being replaced with new, flat-bottomed bridges, bat roosting habitat is being lost at an accelerating rate.
Ina Bridge
The old Ina Road bridge provided an abundance of high quality habitat in its expansion joints and other crevices, and was used by thousands of bats, however, the new design is flat-bottomed. Many of the Mexican free-tailed bats migrate to this area during the summer. Some of these bats stay to over-winter under the Ina Road Bridge. As part of the environmental scoping process, Arizona Game and Fish Department recommended mitigation by providing replacement habitat for the large bat population roosting in the bridge.
Bats Using Ina Road Bridge
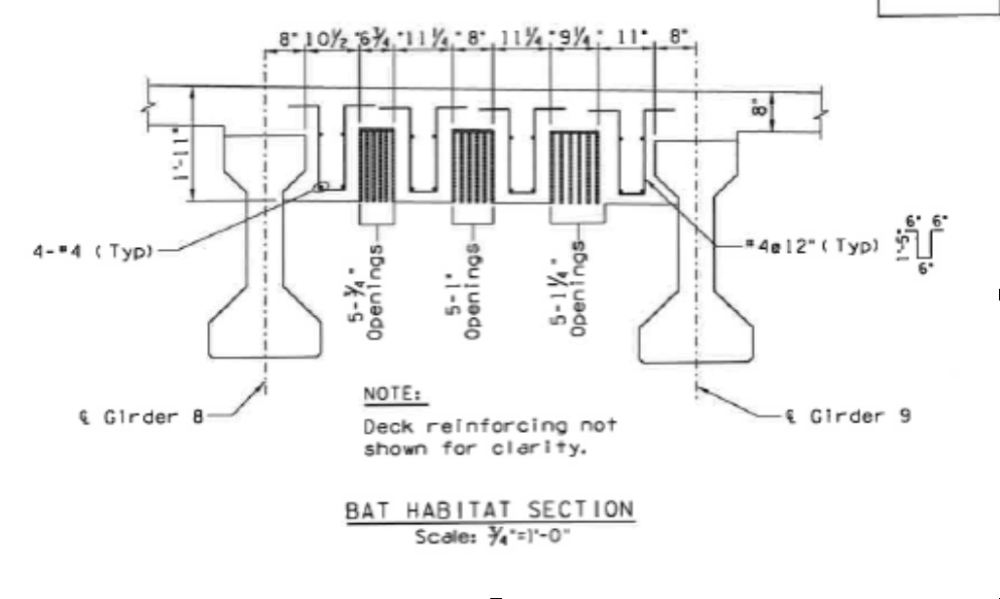
The Ina Road Bridge is one of many bridges in Tucson that provides significant roosts for bats. This bridge is home to about 15,000 thousand bats, mainly Mexican free-tailed bats (Tadarida brasiliensis) and some Cave myotis (Myotis velifer) during the summer. Approximately 5,000 Mexican free-tailed bats remain in the bridge in the winter. A large culvert adjacent to the Ina Rd. Bridge also provides roosting habitat for bats. Because Tucson can get very hot during the summer and cold during the winter, it was important to design bat roosting habitat that is well-insulated in order to mimic, as closely as possible, the temperature moderation provided by the thermal mass of the bridge.

A thickened bridge deck was designed with cut-outs so that Modern Bat BoxesTM could be incorporated into the bridge deck mass to moderate temperatures for the bats. Modern BatTM boxes are designed and constructed in New Mexico, from a light- weight concrete material. Each bat box is 4 ft x 4 ft x 4ft, with crevice varying from ¾ inch to 1 ½ inches in width (Figure 2).

AZGFD and bat biologist, Sandy Wolf gathered baseline information prior to demolition of the old bridge. They monitored bats under the Ina Bridge from May 2015 through April 2016 (Figure 3).

Figure 3. Number of Bats by month (graph by Sandy Wolf)
AZGFD also installed data loggers that record temperature and humidity inside the crevices in the old Ina Rd. Bridge and in the bat boxes in the new bridge to determine whether the boxes have a microclimate that is similar to the old bridge crevices.
Exclusion of Bats from Old Ina Road Bridge and Occupation of New Ina Bridge Bat Boxes
AZGFD coordinated with AZ Department of Transportation (ADOT) to excluded bats from the old bridge prior to demolition. The Exclusion was timed during mid-October through December, when monitoring determined that bat numbers are low. AZGFD gradually sealed up unoccupied crevices and crevices where bats left for the evening to forage. They had to create plastic sheeting funnels hanging from some crevices so that the bats could exit but couldn’t return to the same crevice. Then biologists could seal up the crevices. There were a few bats in torpor that still had not left the bridge after two weeks so AZGFD gently removed these bats physically and placed them in the new bat habitat incorporated into the new bridge section. The bats were sealed into the new bat habitat until the old bridge was demolished, at which time they were released.
As of January 27, 2018, AZGFD reported that two of the bat boxes in the new bridge section were inhabited by approximately 700 bats. AZGFD will be monitoring the bats in the new bridge for two years post-construction. Hopefully we will see more bats using their new bat habitat this summer as they return to Tucson for the summer.

By Janine Spencer-Glasson, Environmental Project Manager for the Town of Marana
Project Partners and Acknowledgements:
Joel Diamond, Sr. Project Manager, Arizona Game and Fish Department
Eduardo Moreno, Biologist, Arizona Game and Fish Department
Regional Transportation Authority, Pima County, Arizona
RD Wildlife Management, New Mexico
Sandy Wolf, Bat Biologist